1.7V-5.5V Vin, 500mA, 8uA IQ, Low-Dropout Regulator, SCT71005Q Replace TPS784-Q1.
SCT71005Q
SCT71005Q.pdf
FEATURES
? Qualified for Automotive Applications
? AEC-Q100 Qualified with the Following Results:
- Device Temperature Grade 1: -40°C to 125°C
? Wide Input Range: 1.7V-6V
(2.2V-6V for SCT71005A01Q)
? Maximum Output Current: 500mA
? Output Voltage:
- 1.2V,1.8V and 3.3V (Fixed Output)
- 0.7V~5V (Adjustable Output Version
SCT71005A01Q)
- 0.5V~5V (Adjustable Output Version
SCT71005A02Q)
? Output Voltage Accuracy:
- TJ = 25℃ : ±1%
- TJ = -40℃~ 125℃ : ±2%
? Low Quiescent Current: 8uA
? Ultra-Low Shutdown Current: 0.02uA
? Low Dropout Voltage(Adjustable Output Version) :
- 54mV at 200mA load current
- 143mV at 500mA load current
? Support Output Capacitors Range:
- 2.2uF~220uF
- Low-ESR: 0.001Ω~ 5 Ω
? 1.4ms Internal Soft-start Time(VREF =500mV)
? 2.05ms Internal Soft-start Time(VREF =700mV)
? Integrated Short-Circuit Protection with OCFB
(Over Current Fold-back) Feature
? Over-Temperature Protection
? Power-Good Feature is available
? Active Output Discharge
? Available Package: SOT23-5/ TDFN2x2-6/ TDFN2x3-8
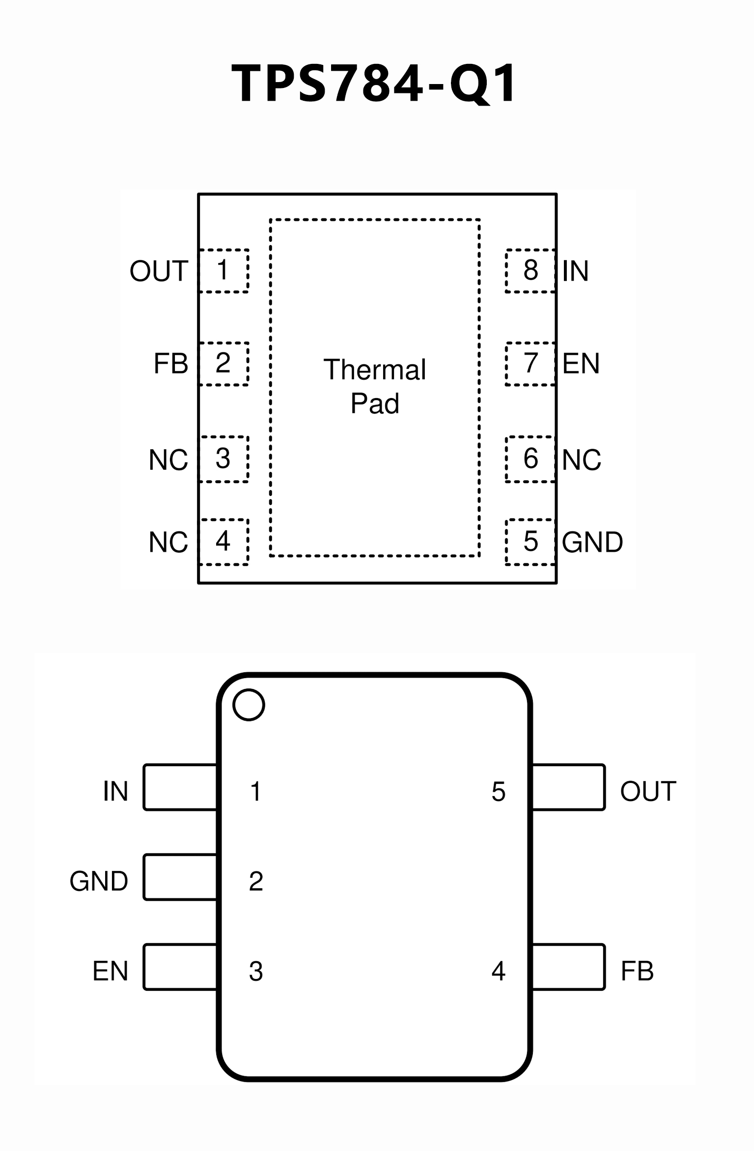
PIN CONFIGUTION
优势替代
FEATURES
? AEC-Q100 qualified for automotive applications:
– Temperature grade 1: –40°C to +125°C, TA
? Device junction temperature: –40°C to +150°C, TJ
? Input voltage range: 1.65 V to 6.0 V
? Available output voltages:
– Adjustable option: 1.2 V to 5.5 V
– Fixed options: 0.65 V to 5.0 V
? Output accuracy: 0.5% typical, 1.7% maximum
? 50-dB PSRR out to 100 kHz
? Low IQ: 25 ?A (typical)
? Ultra-low dropout:
– 115 mV (max) at 300 mA (3.3 VOUT)
? Internal 500-?s soft-start time to reduce inrush
current
? Active output discharge
? Functional Safety-Capable
– Documentation available to aid functional safety
system design
? Packages:
– 3-mm × 3-mm wettable flank VSON (8)
– 5-pin SOT-23
PIN CONFIGUTION









