Application-specific Operational Amplifier,SGM8199 Replace TP199.
SGM8199
SGM8199.pdf
FEATURES
? Wide Common Mode Range: 0V to 26V
? Offset Voltage: ±30μV (TYP)
(Enables shunt drops of 10mV full-scale)
? Accuracy: ±0.02% Gain Error (TYP)
? Choice of Gains:
SGM8199A0 Gain: 20V/V
SGM8199A1 Gain: 50V/V
SGM8199A2 Gain: 100V/V
? Quiescent Current: 70μA (TYP)
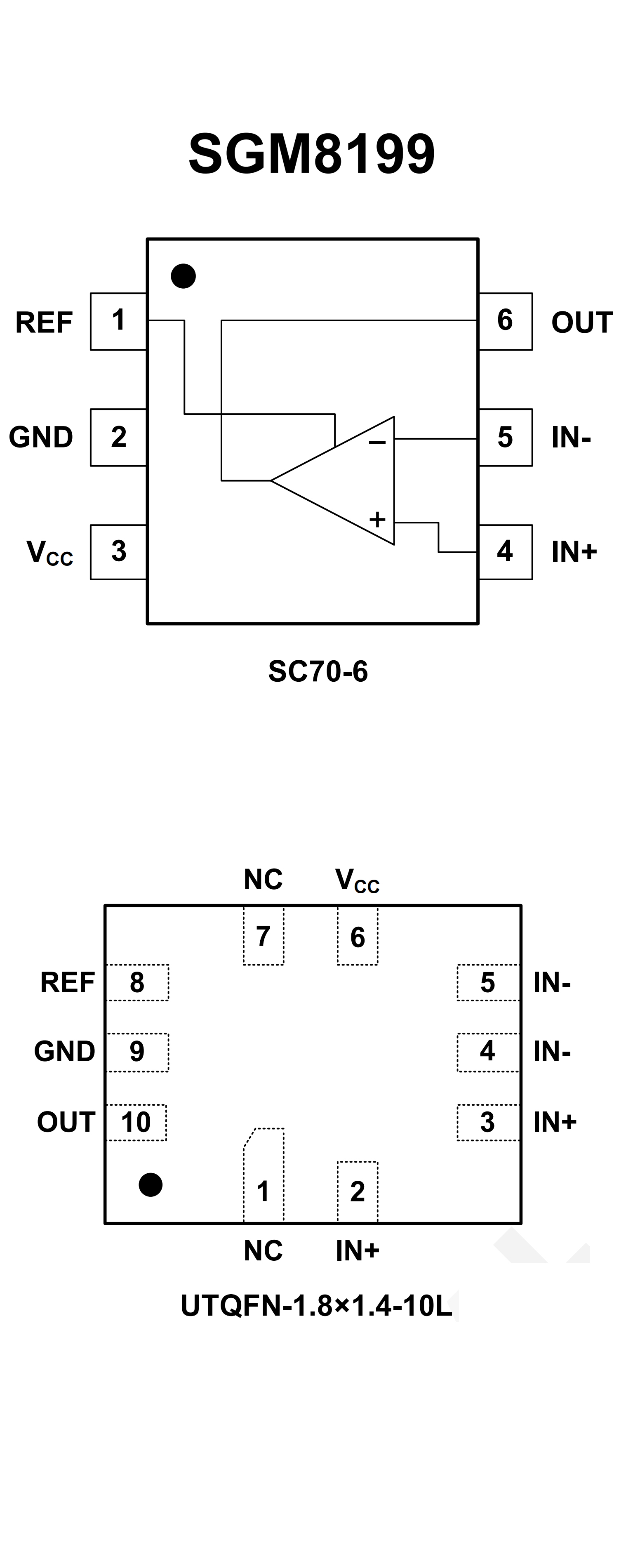
? Available in Green SC70-6 and UTQFN-1.8×1.4-10L
Packages
PIN CONFIGUTION
优势替代
FEATURES
? VOLTAGE OFFSET: ±100uV (MAX)
? WIDE COMMON MODE VOLTAGE: -0.3V to +36V
? SUPPLY VOLTAGE: 2.7V to +36V
? ACCURACY and ZERO-DRIFT PERFORMANCE
±1% Gain Error (Max over temperature)
0.5μV/°C Offset Drift (Max)
10ppm/°C Gain Drift (Max)
? TWO GAIN OPTIONS for VOLTAGE OUTPUT
TP199A1: 50V/V
TP199A2: 100V/V
? LOW SUPPLY CURRENT: 120uA (TYP)
? Rail-to-Rail Output
? PACKAGE: SC70-6
? Industrial –40°C to 125°C Operation Range
? ESD Rating: Robust 3KV – HBM, 2KV – CDM
? Higher performance Drop-In Compatible With
INA213, INA214, INA199, NCS199 Products
PIN CONFIGUTION









