Low Noise Operational Amplifier, SGM8295-1 Replace OPA172.
SGM8295-1
SGM8295-1.pdf
FEATURES
? Low Noise: 4.5nV/Hz
? Rail-to-Rail Output
? Very Low Offset Voltage: 250μV (MAX)
? Low Bias Current: ±1nA (TYP)
? High Gain-Bandwidth Product: 9MHz
? High Slew Rate: 8V/μs
? High Open-Loop Gain: 130dB at VS = ±15V
? High PSRR: 145dB
? Settling Time to 0.1% with 1V Step: 1μs
? Operating Voltage Range: 3.6V to 36V or ±1.8V to ±18V
? Low Supply Current: 1.5mA/Amplifier (TYP)
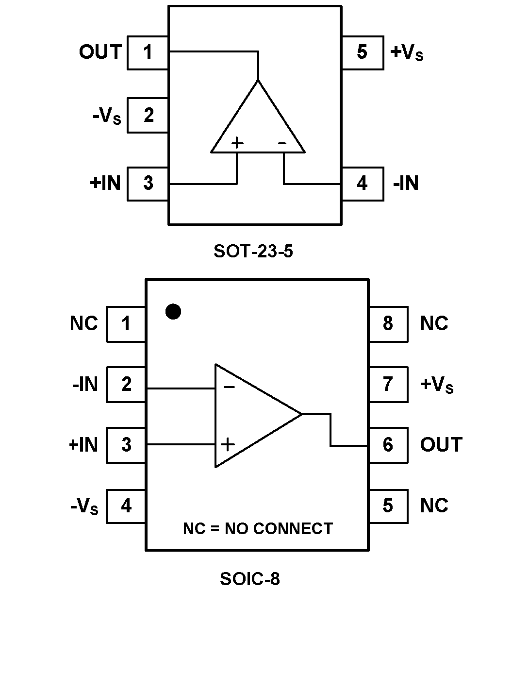
PIN CONFIGUTION
优势替代
FEATURES
? Wide Supply Range: +4.5V to +36V, ±2.25V to ±18V
? Low Offset Voltage: ±0.2mV
? Low Offset Drift: ±0.3μV/°C
? Gain Bandwidth: 10MHz
? Low Input Bias Current: ±8pA
? Low Quiescent Current: 1.6 mA per Amplifier
? Low Noise: 7 nV/√Hz
? EMI and RFI Filtered Inputs
? Input Range Includes the Negative Supply
? Input Range Operates to Positive Supply
? Rail-to-Rail Output
PIN CONFIGUTION









