Low Noise Operational Amplifier, Replace MCP6L74
SGM8624
SGM8624.pdf
FEATURES
? Rail-to-Rail Input and Output 3mV Maximum VOS
? High Gain-Bandwidth Product: 3MHz
? High Slew Rate: 1.7V/μs
? Settling Time to 0.1% with 2V Step: 0.5μs
? Overload Recovery Time: 2.3μs
? Low Noise: 17.5nV/ Hz at 1kHz
? Supply Voltage Range: 2V to 5.5V
? Input Voltage Range: -0.1V to +5.6V with VS = 5.5V
? Low Supply Current SGM8622/4: 210μA/Amplifier
? Small Packaging TSSOP-14 and SOIC-14
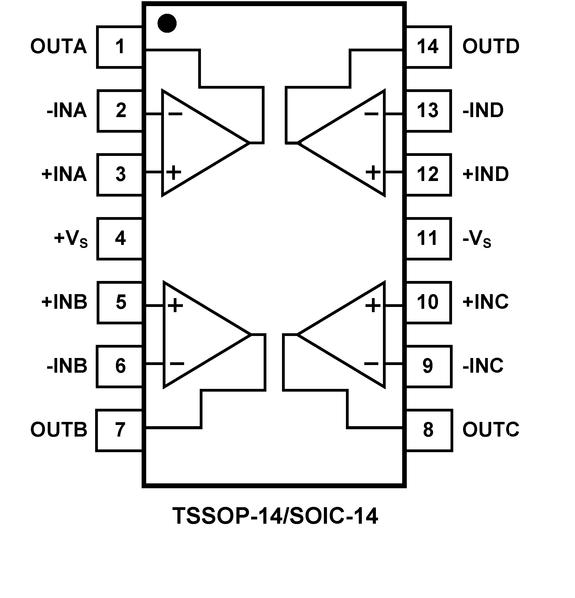
PIN CONFIGUTION
优势替代
FEATURES
? Gain Bandwidth Product: 2 MHz (typical)
? Supply Current: IQ = 150 μA (typical)
? Supply Voltage: 2.0V to 6.0V
? Rail-to-Rail Input/Output
? Extended Temperature Range: –40°C to +125°C
? Available in Single, Dual and Quad Packages
PIN CONFIGUTION









