Low Noise Operational Amplifier, Replace TSV914
SGM8634
SGM8634.pdf
FEATURES
? Low Cost
? Rail-to-Rail Input and Output
0.8mV Typical VOS
? Unity Gain Stable
? Gain-Bandwidth Product: 1.1MHz
? Very Low Input Bias Current: 0.5pA
? Supply Voltage Range: 2.1V to 5.5V
? Input Voltage Range: -0.1V to +5.6V with VS = 5.5V
? Low Supply Current: 46μA/Amplifier
? Small Packaging
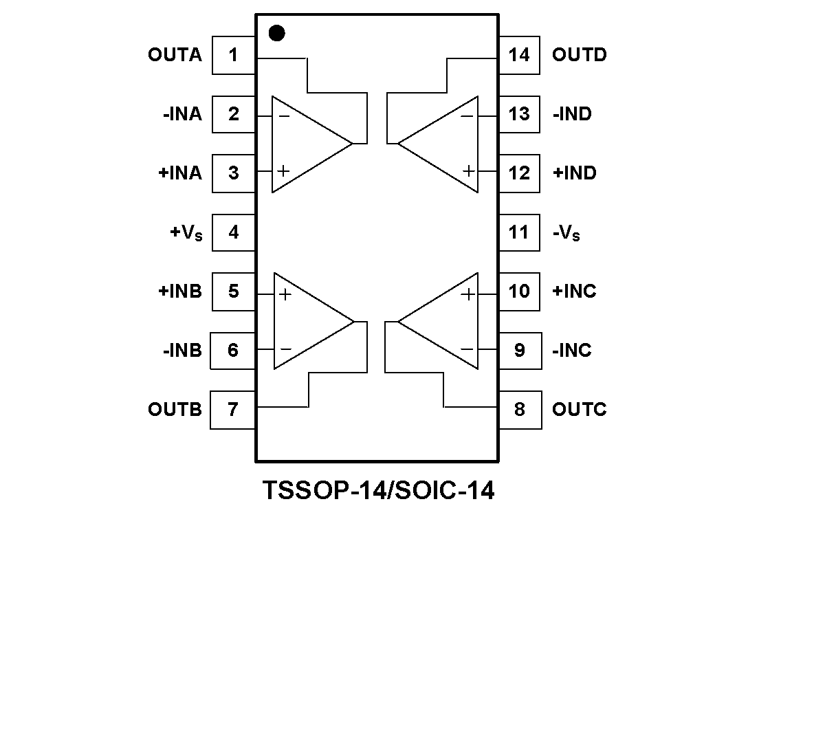
SGM8934 Available in TSSOP-14 and SOIC-14
PIN CONFIGUTION
优势替代
FEATURES
? Rail-to-rail input and output
? Wide bandwidth
? Low power consumption: 1.1mA max.
? Unity gain stability
? High output current: 35mA
? Operating from 2.5V to 5.5V
? Low input bias current
? ESD Internal protection? 5kV
? Latch-up immunity
PIN CONFIGUTION









