No.10627
? Supports single-coil reversible DC motor applications
? Operating voltage: 3V to 18V
? Four modes of operations: Forward, Reverse, Brake and Standby
? Low quiescent current of 0.85mA typical in normal operation
and 32μA in standby mode
? Internal over current protection
? Under voltage lockout and over voltage protection
? Over temperature protection
? -40°C to +85°C /105°C operating temperature
? 6kV ESD withstand capability
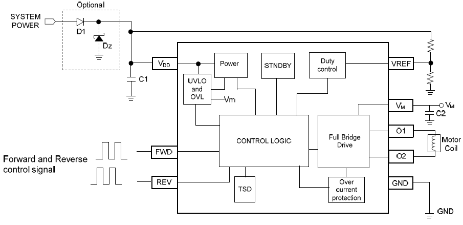
The ZXBM5210 is a single chip solution for driving a single-coil reversible direct current (DC) fans and motors. The integrated fullbridge driver output stage is designed to minimize audible switching noise and electromagnetic interference (EMI) providing a low noise solution For system flexibility, the device has four modes of operation: Forward, Reverse, Brake and Standby selected via FWD and REV pins. The Forward and Reverse modes provide the motor rotation direction control, the Brake mode allows quick stop and the Standby mode helps system efficiency by powering down most of the internal circuits to consume less than 32uA typical. The motor speed can be adjusted by changing the duty ratio of the PWM signal on the FWD or REV pins in the PWM mode or alternatively by adjusting DC voltage input signal to the VREF pin in the VREF speed control mode.
The ZXBM5210 is available in the standard SO8 and thermally enhanced SO8-EP packages









