Automotive, Low Drift, Low Power, Small-Package Voltage Reference.
SGM4024xQ
SGM4024xQ.pdf
No.14144
FEATURES
? AEC-Q100 Qualified for Automotive Applications
Device Temperature Grade 1
TA = -40℃ to +125℃
? Input Voltage Range: 2.7V to 5.5V
? Fixed Output Voltage: 1.25V, 1.8V, 2.5V, 3V, 3.3V,
4.096V, 5V
? High Initial Accuracy: ±0.05% (MAX)
? Low Temperature Drift: 10ppm/℃ (MAX)
? Low Quiescent Current: 72μA (TYP)
? High Output Current: ±10mA
? Stable Output CL Range: 0.1μF to 10μF
? Low Noise: 6μVP-P/V at 0.1Hz to 10Hz
? Long-Term Stability: 50ppm at 1000h
? Available in a Green SOT-23-5 Package
DESCRIPTION
The SGM4024xQ is a low power, low drift and high precision CMOS voltage reference. The device features a low temperature drift of 10ppm/℃ (MAX) and a high initial accuracy of ±0.05% (MAX), while consuming only 72μA (TYP) quiescent current.
Additionally, the output noise of the device is as low as 6μVP-P/V. This means the SGM4024xQ can keep the signal's high fidelity with high resolution data converters in systems that are sensitive to noise. The hysteresis and long-term drift of the output voltage are low as well, which enhance the stability and reliability of the system.
The SGM4024xQ fits in a small package and has a low quiescent current. These two advantages make it a good choice for portable devices and battery-powered equipment.
The device is AEC-Q100 qualified (Automotive Electronics Council (AEC) standard Q100 Grade 1) and it is suitable for automotive applications.
The SGM4024xQ is available in a Green SOT-23-5 package. It is specified over the extended industrial temperature range of -40℃ to +125℃.
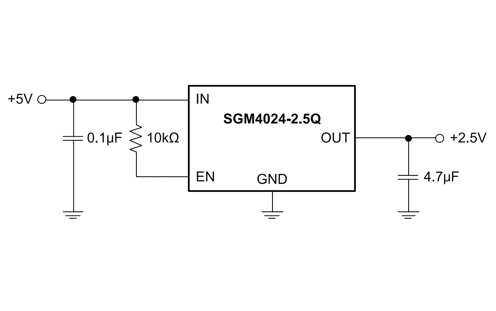
APPLICATION CIRCUIT
PIN CONFIGUTION









