No.10772
? Rail-to-Rail Input and Output
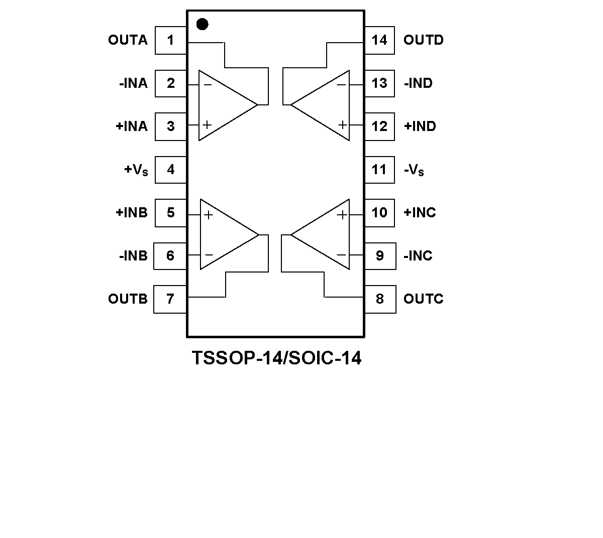
? Available in Green TSSOP-14 and SOIC-14 Packages
The quad SGM8634 is a low noise, low voltage and low power operational amplifier that can be designed into a wide range of applications. The SGM8634 has a high gain-bandwidth product of 6MHz, a slew rate of 3.7V/μs and a quiescent current of 470μA/amplifier at 5V. The SGM8634 is designed to provide optimal performance in low voltage and low noise systems. It provides rail-to-rail output swing into heavy loads. The input common mode voltage range includes ground, and the maximum input offset voltage is 3.5mV. The operating range is from 2.5V to 5.5V.
The quad SGM8634 is available in Green TSSOP-14 and SOIC-14 packages. It is specified over the extended -40℃ to +125℃ industrial temperature range.









